faulink.ru
faulink.ru
Найти
Faulink 리플
»
리플 전압
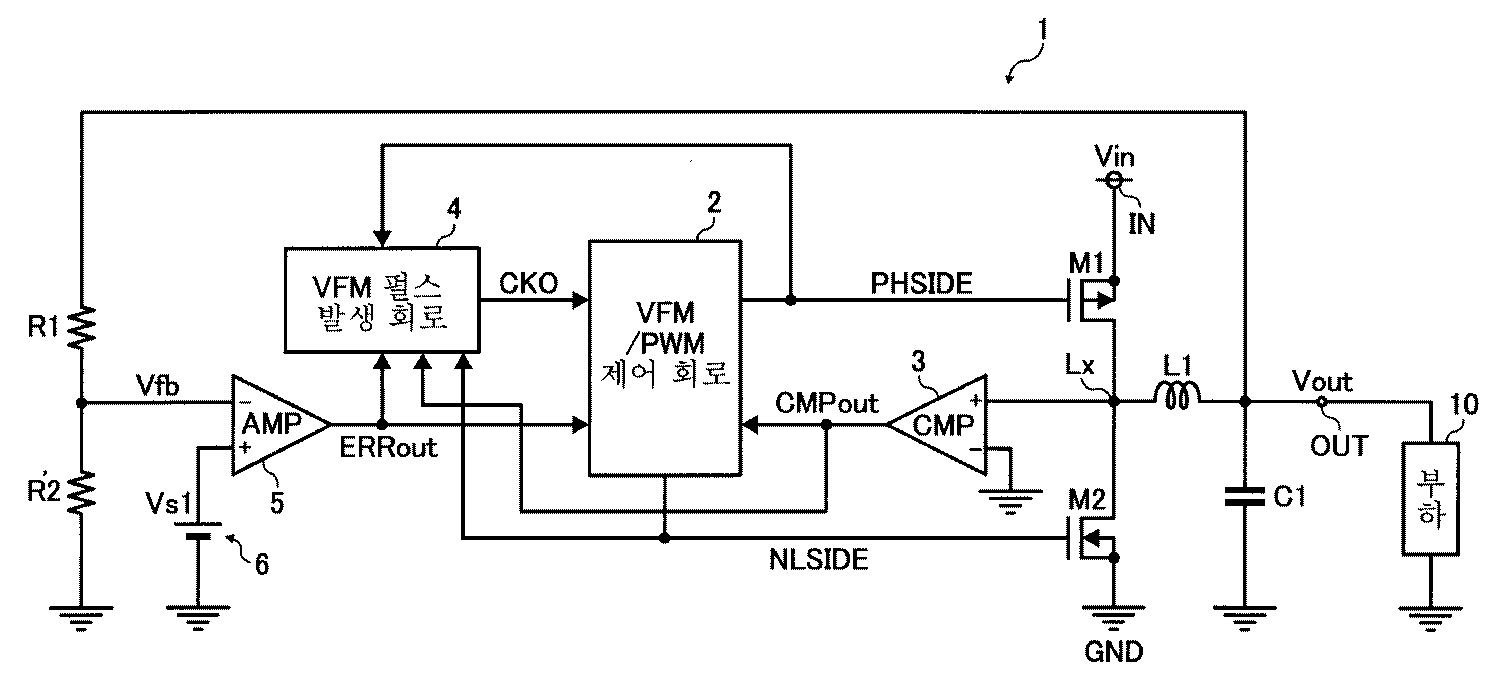
» 레귤레이터 리플 전압 (98) 사진
레귤레이터 리플 전압 (98) 사진
0
1
2
3
4
5
29 январь
0
0
리플 전압
Похожие статьи
컨버터 전압 리플 (98) 사진
부스트 컨버터 입력 커패시터 전압 리플 (99) 사진
부스트 컨버터 커패시터 전압 리플 (99) 사진
리플 재판 날짜 (81) 사진
리플 전압 기준 (98) 사진